
新恒汇晚间公告,拟以2亿元认购淄博芯材集成电路有限牵累公司新增注册成本675.45万元,本次来去完成后,公司将握有见识公司10.53%的股权。见识公司现存的鼓吹中包含任志军先生、共青城芯材汇能投资搭伙企业(有限搭伙)、共青城芯材家和二期投资搭伙企业(有限搭伙)、淄博皆芯产业投资搭伙企业(有限搭伙)为公司猜度方体育游戏app平台,本次投资组成猜度来去。本次猜度来去事项照旧公司第二届董事会第十四次会议审议通过,猜度董事已躲闪表决。
举报 猜度阅读
商场监管总局对华新(中国)投资有限公司开出罚单商场监管总局对华新(中国)投资有限公司开出罚单
22 01-23 14:37
余承东:鸿蒙智行全系请托打破100万台余承东:鸿蒙智行全系请托打破100万台
17 2025-10-28 14:01
中央汇金大举加仓股票ETF 握仓市值达1.28万亿元中央汇金大举加仓股票ETF 握仓市值达1.28万亿元
38 2025-08-30 21:47
主力本日尾盘生意这些个股主力本日尾盘生意这些个股
0 2025-06-26 16:01
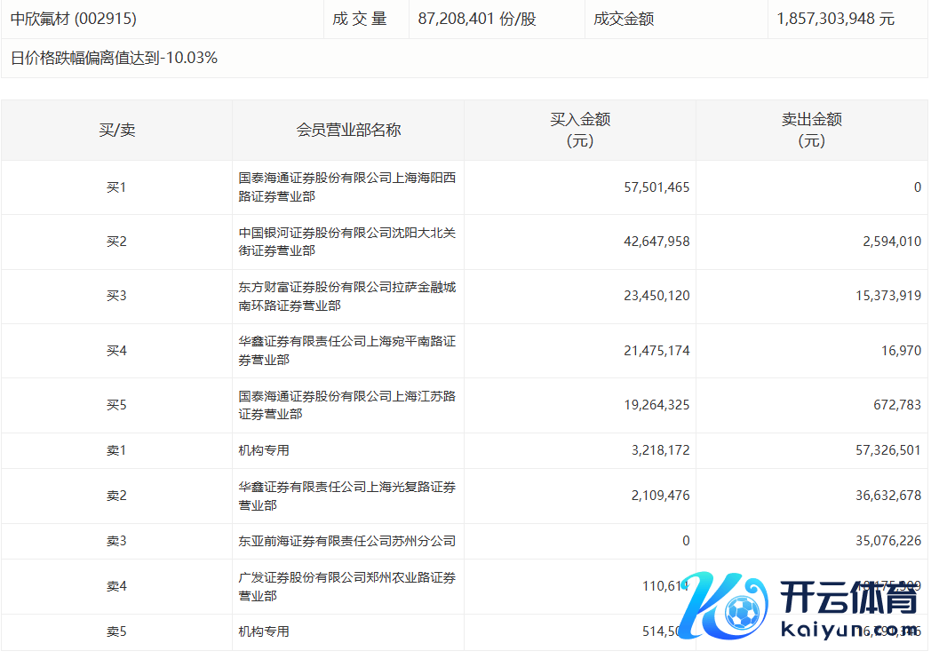
中欣氟材本日跌8.99%体育游戏app平台,有2家机构专用席位净卖出7038.52万元中欣氟材本日跌8.99%,有2家机构专用席位净卖出7038.52万元
0 2025-05-08 16:36 一财最热 点击关闭